
百級層流罩(又叫潔凈層流罩)凈化層流罩,百級層流罩是一種可提供局部百級潔凈度的空氣凈化單元,是一種垂直單向流的、提供局部潔凈百級環境的、無塵無菌凈化設備;可靈活地按置在需要高潔凈度的工藝點上方,以符合局部工藝點需要高潔凈度的環境要求。潔凈層流罩與土建式或裝配式百級潔凈室相比,具有投資省,上馬快,對廠房土建要求低,安裝簡便,運轉費用低等優點。

百級層流罩設計特點:
1、百級層流罩的整體設計思想為采用模塊化設計,各單元單獨組成,可設備化進行安裝和調試。
2、百級層流罩在過濾器的安裝形式與密封方面,液槽密封式高效過濾器的安裝結構,可從技術上保證過濾器下游無泄漏的空氣污染,易于安裝和更換。
3、風機箱采用外轉子直聯風機,易于安裝與檢修。在回風口可設置板式中效過濾,同時安裝壓差計,必要時方便更換。
4、靜壓箱部分,由于此處為正壓結構,對吊頂內的密封要求不是非常高,故可簡化對結構的要求。
5、照明采用淚珠式燈具,維修及更換具有通用性。
6、均流及送風面板,采用好進技術的進口高分子均流膜,具有阻力低,氣流均勻及高透光性,可方便的進行清潔處理與安裝。

A、可應用于制藥、微生物研究和科學實驗等場所專用的局部凈化設備,它提供一種垂直單向氣流,部分潔凈空氣在工作區循環,部分排出至附近區域,使工作區產生負壓,防止交叉污染,用于保證工作區的高潔凈度環境。
B、在設備中進行粉塵、試劑稱量、分裝,可以控制粉塵、試劑外溢、上揚,防止粉塵、試劑對人體的吸入危害,還避免粉塵、試劑的交叉污染,保護外界環境及室內人員的安全。潔凈層流罩是將空氣以一定地風速通過高效過濾器后,形成均流層,使潔凈空氣呈垂直單向流,從而保證了工作區內達到工藝要求的潔凈度。
百級潔凈層流罩是在低潔凈度環境下,創造局部高潔凈度環境的裝置,可使局部工作環境達到百級,可獨立形成回風系統或與管道系統連接,凈化面積靈活,配置低噪音離心風機及減震裝置,安裝為懸吊或支架支撐形式,箱體采用優質304不銹鋼,結構堅固,電器系統安全可靠,百級潔凈層流罩廣泛應用于電子、醫藥、科技、生物工程等領域,是在低凈化區域中達到高凈化級別要求的理想設備。
百級層流罩應用于精密電子裝置操作間及制藥車間安全洗烘灌封流水線、抗生素瓶洗烘灌封流水線,口服液瓶洗烘灌封流水線,大輸液生產線上的潔凈送風處理等環境廣泛使用。

百級層流罩工作原理:
百級層流罩采用垂直單向流的氣流形式,送風先要通過初效過濾器進行預過濾,將氣流中的大顆粒粉塵粒子處理掉。經過預處理后的空氣,再經過高效過濾器進行二次過濾,以起到充分保護高效過濾器的作用。在離心風機提供的壓力下,通過高效過濾器,使之達到潔凈要求。所有氣流均經過高效過濾器處理,所以送風,排風均不帶殘余粉塵,避免了二次污染。由于在工作區域形成穩定的單向流,起到保護外部環境的作用。

百級層流罩結構說明:
百級層流罩由304機箱、高效過濾器、可變風量風機組、風速和壓差檢測儀、照明組件等幾大部件組成。機箱采用鏡面無指紋304不銹鋼制作,鈑金一體折彎制作成型,美觀潔凈,易于清潔消毒。
潔凈層流罩采用了可調風量的風機系統,通過調節風機的工況,可使潔凈工作區中的平均風速保持在額定的范圍內(0.45m/s),采用不銹鋼風速儀檢測風速,并反回由控制器將風機風速恒定在設定值。
潔凈層流罩氣流流形為垂直流,空氣自上而下流動,配有高效阻力檢測壓差表,實時檢測高效阻力。
潔凈層流罩有吊裝式和支架安裝式。送風面有孔板送風和均流膜送風兩種方式。
潔凈層流罩可以單個使用,也可多個連接組成帶狀潔凈區域。層流罩是將空氣以一定地風速通過高效過濾器后,形成均流層,使潔凈空氣呈垂直單向流,從而保證了工作區內達到工藝要求的潔凈度。
]]> 一、防爆潔凈采樣車用戶需求的URS文件:
一、防爆潔凈采樣車用戶需求的URS文件:
1、總括了用戶對可移動取樣車的需求,描述了用戶對可移動取樣車功能的期望,主要包括相關法規符合度和用戶的具體需求。
2.防爆潔凈采樣車范圍
該文件適用于倉儲部原輔料到貨后的取樣,可移動取樣車的用戶需求說明。
3.職責
倉儲部:負責URS的起草、審核。
工程部:負責URS的審核。
QA:負責審核URS中涉及的質量控制和規定等相關內容。
質量總監:負責審核和批準URS。
 二、可移動防爆潔凈層流采樣車用途:層流采樣車廣泛適用于醫藥、制劑、電子、精密儀器、儀表、食品等行業的特殊場合的原輔物料的采樣。我司層流采樣車/無菌取樣車特點:我司生產的采樣車具有結構簡單,外形美觀,移動靈活,經濟實惠,使用方便等優點,是貫徹GMP第二十六條醫藥行業采樣的必備設備。同時使用的電動元件符合GB1497—85(電動安全標準);符合GB-191(包裝標準)的規定。該設備潔凈度級別達到百級,可方便地進行藥物制劑(無菌制劑除外)原輔材料的取樣。層流采樣車電器控制面板為電腦輕觸點控制,風機為無級調速,風量任意調節,潔凈取樣車配置帶紫外線滅菌燈,其他規格尺寸可根據客戶要求定做或者兩端加裝軟簾。
二、可移動防爆潔凈層流采樣車用途:層流采樣車廣泛適用于醫藥、制劑、電子、精密儀器、儀表、食品等行業的特殊場合的原輔物料的采樣。我司層流采樣車/無菌取樣車特點:我司生產的采樣車具有結構簡單,外形美觀,移動靈活,經濟實惠,使用方便等優點,是貫徹GMP第二十六條醫藥行業采樣的必備設備。同時使用的電動元件符合GB1497—85(電動安全標準);符合GB-191(包裝標準)的規定。該設備潔凈度級別達到百級,可方便地進行藥物制劑(無菌制劑除外)原輔材料的取樣。層流采樣車電器控制面板為電腦輕觸點控制,風機為無級調速,風量任意調節,潔凈取樣車配置帶紫外線滅菌燈,其他規格尺寸可根據客戶要求定做或者兩端加裝軟簾。
 三、可移動防爆潔凈采樣車性能要求:
三、可移動防爆潔凈采樣車性能要求:
潔凈度:工作區內>0.5um粒徑的塵埃應<3500顆/升;
菌落數:<0.5個/皿.時(900mm培養平皿);
平均風速:0.3-0.45m/s,平均風速:0.2-0.35m/s,風速同配風機數量有關系,這個是達到10000級潔凈度標準。
噪音:<65dB(A)≦68dB(A)防爆風機本身噪音大;
防爆風機功率:250W/臺,兩臺風機共計500W;
振動半峰值:0.5um(XYZ方向);
照度:>300LX
電壓:220V
機器尺寸:長1600*寬1500*凈高2200mm
 四、防爆潔凈取樣車(可移動)規格型號及及要求:
四、防爆潔凈取樣車(可移動)規格型號及及要求:
ZJ-CSYDZ-1600:產品規格(mm):寬*深*高;
外形尺寸: 1600*1700*2700
工作區尺寸:1500*1600*2200
詳見URS
 五、可移動防爆潔凈采樣車工程要求
五、可移動防爆潔凈采樣車工程要求
防爆潔凈采樣車具體要求;
1、從室內空氣經過初效過濾器,從高效空氣過濾器出風,配無隔板高效過濾器過濾效率為:99.99@0.3μm和G4級初效過濾器,確保凈化級別,靜態100級美聯邦209E標準;
2、產品結構由不銹鋼板組成
3、電器材料為防爆材質,可以符合甲類庫取樣
4、配可調地腳及萬向輪,搬動移位 輕巧 方便 ,定位放置穩固安全?
5、工作區兩側為不銹鋼擋板,前后為條形防靜電防塵垂簾,達到理想防塵效果
6、配一臺大風量低噪聲進口風機0.165KW,確保風速大于0.45m/s
7、配壓差表,明確指示高效過濾器兩側的壓差,并及時提醒您更換高效過濾器
8、可調速風機設計,調速性能穩定,在高效過濾器終阻力的狀態下仍能保證風量不變
9、取樣車底部無需擋板,方便油桶車進出
10、系統故障保護功能
11、提供取樣車的說明書,便于日后維護保養
12、提供取樣車電氣原理圖便于日后檢修時故障排查
13、風機口必須有防止雨水漏進的設施
 六、潔凈層流采樣車使用方法:
六、潔凈層流采樣車使用方法:
潔凈采樣車移至需要采樣的地方,固定采樣車(剎車);接通電源,打開電源開關,打開風機開關;
風機開始工作,將電壓調至適當(一般為220V),待潔凈采樣車運轉15分鐘后,放入采樣桶;
采樣結束后,取走采樣桶,關掉風機及電源,拔掉電源線,將采樣車移到原來的位置。
層流采樣車使用環境要求:
正常工作條件:溫度:5℃~40℃
相對濕度:≤80%
大氣壓力:86~106KPa
外觀:采樣車箱體為不銹鋼材質或鋼板箱體,裝飾簾子光滑、垂直,無損傷現象。
腳輪:靈活可靠。
照明:平均光照明度不得小于300LX。
凈化級別:萬級、十萬級。
平均風速:0.4±20%(可調)
噪音:不大于65db(A)
振動:在風速達標范圍內,采樣車機架X、Y、Z三個方向振幅小于或等于3μm。

潔凈采樣車安裝確認與外觀要求:
油漆表面應光滑平整,鍍層無起殼、脫落現象,裝飾簾子應光滑、垂直、無損傷現象。檢驗方法:目測。檢查開箱驗收是否符合要求,并應建立完整的設備檔案。
檢查是否已起草該設備使用SOP,并對使用人員進行了相應的培訓。潔凈采樣車運行確認:潔凈采樣車腳輪:靈活可靠。檢驗方法:目測,同時用手試轉。潔凈采樣車照度:各點照度不得小于300Lx。檢驗方法:由照度計測試,測定離地面60cm處照度,共測三點,每點測三次。
潔凈采樣車凈化效率潔凈采樣車塵埃粒子數:大于5.0μm的粒子數小于20000個/m3,大于0.5μm的粒子數小于3500000個/m3。
檢驗方法:調節風速至低、中、高檔,分別用塵埃粒子計數器測試,離地面80cm-100cm處測定,每檔測三點,每點測量三次。
沉降菌:沉降菌≤10個,共測三點,每點測量三次。壓差:車內與外面壓差大于10Pa。檢驗方法:用微壓差計測量壓差,共測三點,每點測量三次。
注意:根據防爆潔凈取樣車使用情況要定期用風速儀測量工作區風速,如發現不符合有關技術要求,可調整風機風量,必要時更換高效或初效空氣過濾器。
]]> 潔凈層流罩它主要由箱體、風機、初效空氣過濾器、高效過濾器、阻尼層、燈具等組成,外殼噴塑。潔凈層流罩產品既可懸掛,又可地面支撐,結構緊湊,使用方便。
潔凈層流罩它主要由箱體、風機、初效空氣過濾器、高效過濾器、阻尼層、燈具等組成,外殼噴塑。潔凈層流罩產品既可懸掛,又可地面支撐,結構緊湊,使用方便。
 層流罩材質采用進口環保覆鋁鋅板,永不生銹,耐腐蝕,輕巧堅固,箱體采用黃金分割比例點設計,層流罩美觀大方,超薄機身厚度僅為20cm,加上高效過濾器總厚度不超過29cm;重量僅為24kg,節約空間,方便施工安裝和日常維護,層流罩風機采用意大利進口防靜電多翼式渦輪節能風機,超低噪音,風壓擴散均勻,出風面風速均勻穩定,功耗低運行成本低,工作壽命長達6萬小時以上,風機控制采用三檔調速,電路均采用電器開關控制,控制安全平穩;并預設集中控制功能。
層流罩材質采用進口環保覆鋁鋅板,永不生銹,耐腐蝕,輕巧堅固,箱體采用黃金分割比例點設計,層流罩美觀大方,超薄機身厚度僅為20cm,加上高效過濾器總厚度不超過29cm;重量僅為24kg,節約空間,方便施工安裝和日常維護,層流罩風機采用意大利進口防靜電多翼式渦輪節能風機,超低噪音,風壓擴散均勻,出風面風速均勻穩定,功耗低運行成本低,工作壽命長達6萬小時以上,風機控制采用三檔調速,電路均采用電器開關控制,控制安全平穩;并預設集中控制功能。
彈性、多元化配置除標準機型外,層流罩可根據客戶需求,制作不同規格的非標產品。如:濾網種類、箱體材質等變更。人性化設計機組附裝不銹鋼把手,使搬運及安裝更為方便快捷;
 層流罩結構及特點:
層流罩結構及特點:
1、層流罩靈活地吊裝于需要高潔凈度的工藝點上方,以滿足局部高潔凈度的要求;
2、層流罩箱體可由壁板、噴塑冷軋鋼板或全不銹鋼制成;
3、層流罩有風機內裝和風機外接兩種,安裝方式有懸掛式和落地支架式兩種;
4、層流罩可單獨使用,也可多個并聯組成潔凈層流帶;
5、層流罩投資省、見效快、安裝簡便、運行費用低;
6、潔凈度:工作區內≥0.5m粒徑的塵埃≤3.5顆/升(FS209E100級);
7、噪聲:≤64 Db(A);
8、平均風速:0.3一0.55m/s;
9、層流罩與潔凈室相比,具有投資省,見效快,對廠房土建要求低,安裝方便,省電等優點。
 層流罩保養注意事項:
層流罩保養注意事項:
首先必須對層流罩定期更換高效過濾器,避免污染細菌生長。
如有發現層流罩工作出現異常,請廠家注意,馬上切斷電源,并且通知有關人員立即進行維修處理;以免無意中啟動運轉,造成人身傷害。
生產車間使用溫度不得超過50℃,且嚴禁室內使用明火。
最后需要定期對層流罩電氣線路檢查,如有故障可參照電氣原理圖進行維修或者馬上聯系廠家進行上門維修。

層流罩可非標訂做!
]]> 潔凈采樣車用途:
潔凈采樣車用途:
潔凈采樣車廣泛適用于醫藥、制劑、電子、精密儀器、儀表、食品等行業的特殊場合的原輔物料的采樣。
潔凈采樣車特點:
潔凈采樣車具有結構簡單,外形美觀,移動靈活,經濟實惠,使用方便等優點,是貫徹GMP第二十六條醫藥行業采樣的必備設備。同時使用(電動安全標準);(包裝標準)的規定。該設備潔凈度級別達到百級,可方便地進行藥物制劑(無菌制劑除外)原輔材料的取樣。
潔凈采樣車電器控制面板為電腦輕觸點控制,風機為無級調速,風量任意調節,潔凈取樣車配置帶紫外線滅菌燈,其他規格尺寸可根據客戶要求定做或者兩端加裝軟簾。
潔凈采樣車使用方法:
潔凈采樣車移至需要采樣的地方,固定采樣車(剎車);接通電源,打開電源開關,打開風機開關;
風機開始工作,將電壓調至適當(一般為220V),待潔凈采樣車運轉15分鐘后,放入采樣桶;
采樣結束后,取走采樣桶,關掉風機及電源,拔掉電源線,將采樣車移到原來的位置。
潔凈采樣車使用環境要求:
正常工作條件:溫度:5℃~40℃
相對濕度:≤80%
大氣壓力:86~106KPa
外觀:采樣車箱體為不銹鋼材質或鋼板箱體,裝飾簾子光滑、垂直,無損傷現象。
腳 輪:靈活可靠。
照 明:平均光照明度不得小于300LX。
潔凈采樣車凈化級別:百級、萬級。
平均風速:0.4±20%(可調)
噪 音:不大于65db(A)
振 動:在風速達標范圍內,采樣車機架X、Y、Z三個方向振幅小于或等于3μm。
 潔凈采樣車一般配置:
潔凈采樣車一般配置:
1、配鋁框無隔板高效過濾器過濾效率為:99.99@0.3μm和G4級初效過濾器,確保凈化級別,靜態100級標準;
2、工作區兩側為不銹鋼擋板,前后為條形防靜電防塵垂簾,達到理想防塵效果;
3、配大風量低噪聲風機確保風速大于0.45m/s;
4、配進口品牌壓差表,明確指示高效過濾器兩側的壓差,并及時提醒您更換高效過濾器;
5、可調速風機設計,調速性能穩定,在高效過濾器終阻力的狀態下仍能保證風量不變;
6、配可調地腳及萬向輪,搬動移位輕巧方便,定位放置穩固安全;
7、不銹鋼內底孔板,可輕松放置和取出。
潔凈采樣車技術參數:
 潔凈采樣車安裝確認:潔凈采樣車外觀:油漆表面應光滑平整,鍍層無起殼、脫落現象,裝飾簾子應光滑、垂直、無損傷現象。檢驗方法:目測。檢查開箱驗收是否符合要求,并應建立完整的設備檔案。
潔凈采樣車安裝確認:潔凈采樣車外觀:油漆表面應光滑平整,鍍層無起殼、脫落現象,裝飾簾子應光滑、垂直、無損傷現象。檢驗方法:目測。檢查開箱驗收是否符合要求,并應建立完整的設備檔案。
潔凈采樣車運行確認:潔凈采樣車腳輪:靈活可靠。
潔凈采樣車檢驗方法:目測,同時用手試轉。
潔凈采樣車照度:各點照度不得小于300Lx。
潔凈采樣車檢驗方法:由照度計測試,測定離地面60cm處照度,共測三點,每點測三次。
潔凈采樣車凈化效率潔凈采樣車塵埃粒子數:大于5.0μm的粒子數小于20000個/m3,大于0.5μm的粒子數小于3500000個/m3。
潔凈采樣車檢驗方法:調節風速至低、中、高檔,分別用塵埃粒子計數器測試,離地面80cm-100cm處測定,每檔測三點,每點測量三次。
潔凈采樣車沉降菌:沉降菌≤10個,共測三點,每點測量三次。
潔凈采樣車壓差:車內與外面壓差大于10Pa。
潔凈采樣車檢驗方法:用微壓差計測量壓差,共測三點,每點測量三次。
注意:根據采樣車使用情況要定期用風速儀測量工作區風速,如發現不符合有關技術要求,可調整風機風量,必要時更換高效或初效空氣過濾器。
潔凈采樣車尺寸可根據客尸的要求訂做!
]]>
 凈化棚概述:
凈化棚概述:
凈化棚(CLEAN BOOTH)也叫潔凈棚,是為最快速方便建立的一座簡易潔凈室,凈化棚具備多種潔凈等級及空間搭配可以根據使用需求設計制作,因此其簡便運用彈性大安裝容易且施工期短以及可移性為其主要特點,潔凈棚同時可針對在一般等級的潔凈室中局部地區需要高潔凈度的地方做局部增設以降低成本。
凈化棚是一種可提供局部高潔凈環境的空氣凈化設備。凈化棚主要由箱體、風機、初效空氣過濾器、阻尼層、燈具等組成,外殼噴塑。該產品既可懸掛,又可地面支撐,結構緊湊,使用方便。可以單個使用,也可多個連接組成帶狀潔凈區域。
 凈化棚特點:
凈化棚特點:
1、組裝式結構設計,安裝方便,交貨周期短。
2、移動方便(可選用萬向輪)。
3、模塊化結構,容易提高凈化級別,擴展性強,且重復利用價值高。
4、凈化棚相對超凈工作臺內部有效空間大;相對傳統無塵室,具有成本低、施工快、且對樓層高度要求低的優勢。
5、整體采用冷扎鋼板噴塑、采用全不銹鋼和鋁合金等幾種材料,重量輕、抗腐蝕、防銹、美觀大方。
6.采用可調風量系統,保證工作區風速處于理想狀態。
7.適用超凈生產線,多人使用方便。
 凈化棚產品配制:
凈化棚產品配制:
1、框架:以工業鋁材(或不銹鋼方通、鐵方通噴塑)作為框架穩固、美觀、不生銹、不產塵;
2、防靜電垂簾:四周圍用防靜電垂簾(或鋼化玻璃),防靜電效果好、透明度高、網格清晰、柔韌度好、不變形、不易老化;
3、風機濾網機組FFU:,采用離心風機,具有長壽命、低噪聲、免維護、震動小、可無級變速等特性,風機質量可靠,工作壽命長,加上獨特的風道設計,大大提高了風機的效率、降低了噪聲!內部凈化級別可達100-100K級;特別適用于車間內局部凈化級別要求高的區域,如流水線作業區域。
4、內部采用凈化室專用凈化燈,不產塵;
風機從FFU頂部將空氣吸入,經初效過濾器,高效過濾器過濾,過濾后的潔凈空氣在整個出風面以0.45m/s±20%的風速勻速送出到潔凈棚內。形成均流層,使潔凈空氣氣流呈垂直單向流,從而保證了工作區內所要求的潔凈度。
 凈化棚氣流的重要性
凈化棚氣流的重要性
凈化棚的潔凈度往往受到氣流的影響,換言之,即人、機器隔間、建筑結構等所產生的塵埃之移動、擴散受到氣流的支配。潔凈室系利用HEPA、ULPA過濾空氣,其塵埃的收集率達99.97~99.99995%之多,因此經過此過濾器過濾的空氣可說十分干凈。然而潔凈室內除了人以外,尚有機器等之發塵源,這些發生的塵埃一旦擴散,即無法保持潔凈空間,因此必須利用氣流將發生的塵埃迅速排出室外。
 凈化棚風速的控制
凈化棚風速的控制
凈化棚內的氣流是左右潔凈室性能的重要因素,一般潔凈室的氣流速度是選0.25~0.5m/s之間,此氣流速度屬微風區域,易受人、機器等的動作而干擾趨于混亂、雖提高風速可抑制此一擾亂之影響而保持潔凈度、但因風速的提高,將影響運轉成本的增加,所以應在滿足要求的潔凈度水準之時,能以最適當的風速供應,以達到適當的風速供應以達到經濟性效果。
另一方面欲達到潔凈室潔凈度之穩定效果,均一氣流之保持亦為一重要因素,均一氣流若無法保持,表示風速有異,特別是在壁面,氣流會延著壁面發生渦流作用,此時要實現高潔凈度事實上很困難。
垂直層流式方向要保持均一氣流必須:(a)吹出面的風速不可有速度上的差異;(b)地板回風板吸入面之風速不可有速度上的差異。速度過低或過高(0.2m/s,0.7m/s)均有渦流之現象發生,而0.5m/s之速度,氣流則較均一,目前一般潔凈室,其風速均取在0.25~0.5m/s之間。
 影響凈化棚因素:
影響凈化棚因素:
影響潔凈工作棚的氣流因素很多,如制程設備、人員、潔凈室組裝材、照明器具等,同時對于生產設備上方氣流的分流點,亦應列入考慮因素。
一般操作臺或生產設備等表面的氣流分流點,應設于潔凈室空間與隔墻板間距2/3之處,如此可使作業人員工作時,氣流可從制程區內部流向作業區,而將微塵帶走;若分流點配置在制程區前方,將成為不當的氣流分流,此時大部份的氣流將流至制程區之后,作業員操作所引起的塵埃將被帶到設備后面,工作臺因而將受到污染,良率也勢必降低。
潔凈室內的工作桌等障礙物,在相接處均會有渦流現象發生,相對地在其附近之潔凈度將會較差,在工作桌面鉆上回風孔,將使渦流現象減少最低;組裝材料之選擇是否恰當、設備布局是否完善,亦為氣流是否成為渦流現象之重要因素。
風機從FFU頂部將空氣吸入,經初效過濾器,高效過濾器過濾,過濾后的潔凈空氣在整個出風面以0.45m/s±20%的風速勻速送出到潔凈棚內。形成均流層,使潔凈空氣氣流呈垂直單向流,從而保證了工作區內所要求的潔凈度。
凈化棚是能快速組建的簡易潔凈室,其具有安裝快速、施工周期短、價格低廉、移動方便等特點,把主要生產工序控制在較小的環境內也是潔凈室設計的選擇。
 凈化棚優點:
凈化棚優點:
1、可單獨使用,也可組合使用。
2、與土建式或裝配式百級潔凈室相 比,投資少,見效快,安裝簡便,運行費用低。
3、模塊化結構,提高潔凈度等級容易,擴展性強,且重復利用價值高
4、移動方便(可安裝萬向輪)
污染源知識發塵量
凈化棚內的發塵量,來自設備的可考慮通過局部排風排除,不流入室內;產品,材料等在運送過程中的發塵與人體發塵量相比,一般極小,可忽略;由于金屬半壁(彩鋼夾心板)的應用來自建筑表面的發塵也很少,一般占10%以下,發塵主要來自人,占90%左右。在人的發塵量上,由于服裝材料和樣式的改進,發塵絕對量也不斷減少。
A、材質:棉質發塵量最大,以下依次為棉、的確良、去靜電純滌綸、尼龍。
B、樣式:大掛式發塵量最大,上下分裝型次之,全罩型最少;
C、活動:動作時的發塵量一般達到靜止時間3-7倍;
D、清洗:用溶劑洗滌的發塵量降至用一般水清洗的五分之一。室內維護結構表面發塵量,以地面為準,大約相應8平方米地面時的表面發塵量與一個靜止的人的發塵量相當。
發菌量
潔凈室發菌量主要來自工作人員產生的污染:
1)皮膚:人類通常每四天完成一次皮膚的完全脫換,人類每分鐘脫落約1000片皮膚(平均大小為30*60*3微米)
2)頭發:人類的頭發(直徑約為50~100微米)一直在脫落。
3)口水:包括鈉、酶、鹽、鉀、氯化物及食品微粒。
4)日常衣物:微粒、纖維、硅土、纖維素、各種化學品和細菌。
5)人類靜止和坐立每分鐘將產生10000個大于0.3微米的微粒。
6)人類在頭部和軀干做動作時每分鐘將產生1000000個大于0.3微米的微粒。
7)人類以0.9m/s的速度行走時每分鐘將產生5000000個大于0.3微米的微粒。
 分析國外凈化棚試驗資料可以認為:
分析國外凈化棚試驗資料可以認為:
1)潔凈室內當工作人員穿無菌服時:靜止時的發菌量一般為10-300個/min.人軀體一般活動時的發菌量為150-1000個/min.人 快步行走時的發菌量為900-2500個/min.人;
2)咳嗽一次一般為70~700個/ min.人噴嚏一次一般為 4000~62000個/min.人;
3)穿平常衣服時發菌量3300~62000個/min.人;
4)無口罩發菌量:有口罩發菌量1:7~1:14;
5)發菌量:發塵量1:500~1:1000
6)手術中人員發菌量878個/min.人所以,可知潔凈室內無菌衣人員的靜態發菌量一般不超過300個/min.人,動態發菌量一般不超過1000個/min/人,以此作為計算依據是可行的。
]]> 如手機組裝、攝像頭組裝、貼膜等工藝環節;
如手機組裝、攝像頭組裝、貼膜等工藝環節;
1、兼容流水線自動傳送帶;
2、提供三種凈化模式:單側工位凈化、區段工序凈化、產品輸送空間凈化;
3、適應性強,根據流水線量身定制,多功能化設計,可遷移至任意工位使用。
 流水線潔凈棚配置:
流水線潔凈棚配置:
1、鋁材為框架
2、FFU送風單元,高效過濾器
3、防靜電網格圍簾為圍欄
4、防靜電垂簾門實現生產車間達到理想的凈化空間。
 潔凈組裝流水線生產潔凈棚|潔凈組裝流水線功能介紹:
潔凈組裝流水線生產潔凈棚|潔凈組裝流水線功能介紹:
支撐工件通過傳動機構完成相應的回轉、直線曲線、角度分度等運動,并配有夾緊裝置。
主要功能:用于生產線上物件的組裝、生產等工作。
 潔凈組裝流水線設計流程圖及性能要求:
潔凈組裝流水線設計流程圖及性能要求:
1、形體尺寸,應能容納加工零件的最大輪廓;
2、靜剛度要高;
3、動剛度要好;
4、溫度分布均勻;
5、受力合理;
6、耐磨性要好。
 潔凈組裝流水線生產潔凈棚|潔凈組裝流水線特點:
潔凈組裝流水線生產潔凈棚|潔凈組裝流水線特點:
標準的材料(精益管、接頭及附件)設計組裝專用工位器具及生產系統。
組建簡單,應用靈活,不受部件外形和工位空間、場地大小的局限;
改造簡便,可隨時隨需擴展結構功能。
最大程度發揮現場員工的創造性,持續不斷地改善現場的精益生產管理。
材料可重復利用,節約生產成本,支持環保。
精益管表層為覆塑層,不易損傷零部件表面。
 潔凈組裝流水線生產潔凈棚|凈化風淋流水線介紹:
潔凈組裝流水線生產潔凈棚|凈化風淋流水線介紹:
凈化風淋流水線是防止外部空氣污染,在物品傳遞過程中實現凈化的設備;能有效的吹除進入凈化房或潔凈區的貨物表面
附著的塵埃。氣流由高效離心風機帶動,經高效過濾器循環過濾。
潔凈棚設備廣泛應用于PCB、IC、LCD、玻璃生產、生物實驗室、制藥、醫院、食品加工業等所有需要空氣凈化的場所。
]]>




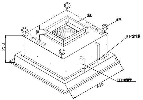
相關產品視頻:500風量DOP高效送風口
由于DOP液槽高效送風口主要用于GMP制藥廠潔凈室高效送風,制作結構復雜,價格昂貴,如果不是藥廠可選用普通新型高效送風口。
普通新型高效送風口主要有:
包括工作區尺寸和外型尺寸,通常我們用寬W*深D*高Hmm來表示。
“梓凈”ZJ-AAS-1200系列風淋間尺寸、規格、案例【標準風淋間】:



用戶參考:此規格風淋間以深度1000mm為單位加長,如W1200*D1000*H2050/2180、W1200*D2000*H2050/2180、W1200*D3000*H2050/2180。。。
產品直達:??3-6人風淋間 ? ? ?2-4人風淋間 ? ?? ??單人風淋間
“梓凈”ZJ-AAS-1300系列風淋間尺寸、規格、案例【標準風淋間】:

雙人風淋間設計方案圖,無塵車間設計施工風淋間選型使用。


用戶參考:此規格風淋間以深度1500mm為單位加長,如W1300*D1500*H2050/2180、W1300*D3000*H2050/2180、W1300*D4500*H2050/2180。。。
產品直達:雙人風淋間
“梓凈”系列風淋間尺寸、規格、案例【非標準風淋間】:
1、雙開門風淋間一般屬定制尺寸,此產品需根據用戶現場門洞開口尺寸定制!
2、內尺寸寬度不能超過2000mm,如果超過2000mm寬建議定做快速卷簾門風淋間(產品詳情:快速卷簾門風淋間)。
梓凈全力以赴為您服務:
不管什么樣風淋間尺寸、風淋間規格,梓凈都可以為您提供免費現場測量、報價、給您提供合理的建議,為您解決風淋間方面的一切問題!
查閱更多風淋間,可點擊右側鏈接跳轉到產品分類>>風淋間。
]]>貨物或物料進出潔凈室的通道,作用是通過風淋間將貨物或物料表面上攜帶的灰塵吹除干凈,避免造成潔凈室的二次污染。
貨物風淋間|物料風淋間分類:
雙開門、快速卷簾門、外置自動平移門三種類型的貨物風淋間

產品視頻:雙開門貨物風淋間
手拉雙開門貨物風淋間內尺寸寬度不能超過2000mm,
如果超過2000mm寬建議定做快速卷簾門風淋間(產品詳情:快速卷簾門風淋間)。

快速卷簾門物料風淋間屬定制尺寸,此產品需根據用戶現場門洞開口及進出推車尺寸定制!

外置自動平移門貨物風淋間屬定制尺寸,此產品需根據用戶現場門洞開口及進出推車尺寸定制!
風淋間制作材料選擇:
A、全冷軋鋼板烤漆;
B、外箱體冷軋鋼板烤漆內膽砂光不銹鋼;
C、全不銹鋼;(注:根據不同使用環境不銹鋼可選201或304)。

貨物風淋間|物料風淋間應用場所:

風淋間購買流程:

“梓凈“風淋間現場安裝要求:
1、確定好安裝位置;
2、將380V三相五線電源安裝到位,且電源功率大于設備功率(如果受條件限制,必須要用到220V電壓,下單時請注明!);
3、合適大小的風淋室安裝空間;
4、放置風淋間的地面已達基本水平,地面水平度公差為±3mm。
查閱更多風淋間,可點擊右側鏈接跳轉到產品分類>>風淋間。
您可能還需要以下產品:
自動平移門風淋間 ? 雙開門風淋間? ?3-6人風淋間 ? ? ?2-4人風淋間 ? ? ? 雙人風淋間 ? ? 單人風淋間
]]>快速卷簾門風淋間主要是用于人或貨物風淋、除塵、凈化過濾。安裝于無塵車間、潔凈室貨物進出口處。
展示一組快速卷簾門風淋間現場安裝時的圖片。




“梓凈”牌快速卷簾門風淋間配置說明:
外形尺寸:W1900*D2000*H2180
風淋區尺寸:W1400*D2000*H1980
尺寸說明:快速卷簾門風淋間屬定制產品,此產品需根據用戶現場門洞開口尺寸定制!

1、快速卷簾門風淋間整體材質采用優質SUS304砂光不銹鋼,鋼板厚度均為國標1.2mm,無通道地板,進出門配快速卷簾PVC門(控制方式可選按鈕式、感應式、遙控式,其中按鈕式和感應式可手動切換。);
2、電子互鎖裝置;
3、配有隔板高效空氣過濾器,高效過濾器尺寸:610*610*120mm*4臺,過濾等級為:H13(MPPS),過濾效率:99.99%@0.3um,初效過濾器尺寸:380*770*15mm*4片,過濾效率為:G4級(計重法),確保凈化級別;
4、全自動紅外感應吹淋,“歐姆龍”紅外感應器,正泰中間繼電器,單向通道貨淋室,從非潔凈區進入,關門后紅外線感應有人就吹淋,吹淋時雙門自動鎖閉,吹淋后入門鎖閉,由潔凈區出去時經過貨淋室不吹淋以節省能源;
5、電源3N 、 ?380V 、 50HZ,LED潔凈照明燈2*9W;
6、配先進的高科技集成電路板,液晶顯示吹淋時間,時間繼電器0~99秒可調,出廠設置10S,紅外線自動感應器,感應自動吹淋,觸摸式微動開關,并安裝人性化智能語音提示系統;
7、配4臺大風量貨淋室專用風機,配36個不銹鋼噴嘴,口徑30mm,總功率:4.5KW,確保吹淋效果,風速≥22-25m/s, 左右兩側+頂部吹淋。

“梓凈”牌快速卷簾門配置:
1、開啟方式:一臺雙面手動控制,另一臺進門手動控制,出門自動感應;
2、密封性能:導槽里有毛刷、門簾底部有PVC基布墊。
3、驅動系統:快速卷簾門專用電機SEJ,電機的功率為750W/220V 50Hz,臺灣剎車系統。
4、升降速度:800㎜/S速度可調。
5、門簾:刀刮涂層基布(法國希運,厚度900g/㎡),無透明視窗。
6、門簾顏色:深藍色。
7、門框:304不銹鋼板加工處理,(立柱厚度足1.26mm,門罩厚度足0.86mm)。
8、控制電路:海力普變頻編程一體機及其他元件組成。
9、限位系統:停電帶記憶編碼器。
10、保護系統:奧托尼克斯光電開關自動保護。
風淋間制作材料選擇(需要報價時請注明):
A、全冷軋鋼板烤漆;
B、外箱體冷軋鋼板烤漆內膽砂光不銹鋼;
C、全不銹鋼;(注:根據不同使用環境不銹鋼可選201或304)。
快速卷簾門風淋間購買流程:

“梓凈“風淋間現場安裝要求:
1、確定好安裝位置;
2、將380V三相五線電源安裝到位,且電源功率大于設備功率(如果受條件限制,必須要用到220V電壓,下單時請注明!);
3、合適大小的風淋室安裝空間;
4、放置風淋間的地面已達基本水平,地面水平度公差為±3mm。
查閱更多風淋間,可點擊右側鏈接跳轉到產品分類>>風淋間。
您可能還需要以下產品:
]]>